elsinger news

Contac S4 Durchkontaktierung

LPKF Contac S4
LPKF Contac S4

Zuverlässige Durch-kontaktierung ist ein Schlüssel zum Erfolg bei anspruchsvollen Leiterplatten-Prototypen.

Die LPKF Contac S4 vereint verschiedene galvanische und chemische Prozesse auf in einem kompakten Sicherheitsgehäuse!

Weiterlesen …

Vision End of Year Promotion

Vision End of Year Promotion
-15% Promotion

Profitieren Sie von der aktuellen Aktion auf ausgewählte optische und digitale Inspektions-produkte, sowie Mikroskope!

15% Rabatt bei Abnahme eines kompletten Sets.

Die Promotion gilt bis 16.01.2026

Weiterlesen …

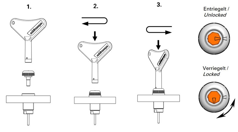
Buchsen verschließen/verriegeln

von Manuela Schwec

Set aus Verschlussstopfen und Schlüssel

Set SEBV9050/TRANSP
  • Die Verriegelung dient als Schutz für den Anwender
  • Transparenter Kopf, dadurch bleibt die Farbe der Buchse sichtbar
  • Anbringen und Verriegeln bzw. Lösen und Entfernen des Stopfens wird mit dem speziellen Schlüssel 9050 umgesetzt

 

zum Set SEBV 9050/TRANP

Zurück